
Energies Free Full Text A Technology Of Hydrocarbon Fluid Production Intensification By Productive Stratum Drainage Zone Reaming Html

Rock Drill Oil And Lube Givens International Drilling Supplies Inc
Diva Portal Org


Impact Dynamics Prediction Of A Rotary Percussive Ultrasonic Drill With A Free Mass Semantic Scholar

The Numerical Research On Rock Breaking And Rising Mechanism Of Rotary Percussive Drilling Springerlink

Hand Held Rock Drill Used For Demolition And Partial Reconstruction China Granite Rock Splitter Hydraulic Concrete Splitter Made In China Com

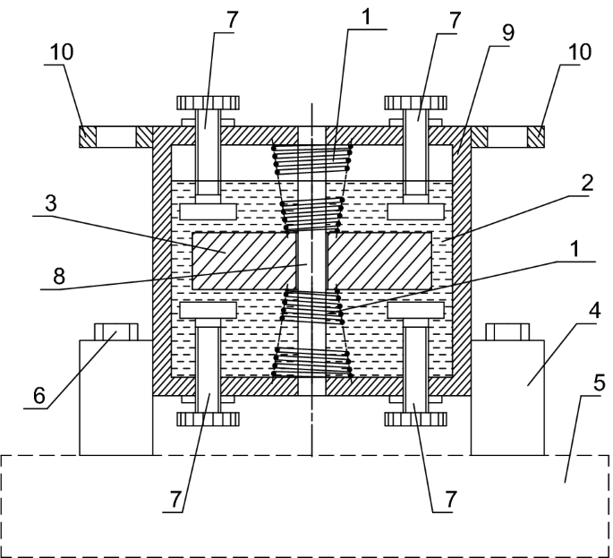
Properties Of Drillstring Vibration Absorber For Rotary Drilling Rig Springerlink

Energies Free Full Text Influence Of Heavy Weight Drill Pipe Material And Drill Bit Manufacturing Errors On Stress State Of Steel Blades Html

Properties Of Drillstring Vibration Absorber For Rotary Drilling Rig Springerlink

Shock Absorber An Overview Sciencedirect Topics

Use Of Drilling Performance To Improve Rock Breakage Efficiencies A Part Of Mine To Mill Optimization Studies In A Hard Rock Mine Sciencedirect